郑州配资网🥇配资10倍的公司投资者应保持与配资公司或其他投资机构的良好沟通关系,及时了解市场动态和政策变化,以便更好地把握投资机会和规避风险。
4月18日,大悦城(000031.SZ)发布2024年年度报告。 财报数据显示,2024年大悦城控股实现营业收入约357.91亿元,较2023年下降2.70%;....
10-08“他们将车停在这里,是在等人上车?还是在看烟花?”今日,有多位市民向记者反映情况称,S2沪芦高速往市区方向转度假区高架往迪士尼方向匝道口导流线处,经常有多辆私家....
为应对台风“竹节草”来袭,上海消防救援部门紧密结合辖区防汛防台任务特点,迅速进入紧急战备状态,全力筑牢台风期间抢险救援防线。 根据防汛防台工作要求,消防部门对救....
前天(7月27日)上午天气闷热云上速融,一位女中学生在乘坐的718路上突然晕倒昏迷,拥有12年驾龄的驾驶员施海涛发现后立即就近站点停车,与乘客一起施救,女孩最终....
来源:金融时报配资台 记者:赵萌 “银行App下架了,里面还有钱怎么办?” 停用、下架、整合……作为曾经商业银行推动数字化转型的重要阵地,银行App眼下正在经历....
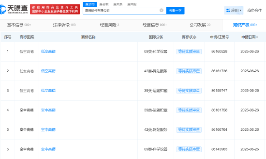
据天眼查显示,近日,高德软件有限公司申请注册“低空高德”“空中高德”商标,国际分类为科学仪器、网站服务、运输贮藏股鑫宝,当前商标状态均为等待实质审查。 据了解,....
7月23日金融一线消息柳荷投资,国家金融监督管理总局上海监管局发布关于占玲灵上海农村商业银行股份有限公司副行长任职资格的批复,核准占玲灵上海农村商业银行股份有限....
曾经凭借默沙东HPV疫苗代理权创造8年117倍增长神话的智飞生物亿策略,如今正深陷生死困局。 业绩“跳楼”:从百亿盈利到首度亏损 Wind最新数据显示,智飞生物....
作者:求是网评论员大咖配资 城市是推动高质量发展、创造高品质生活、全面建设社会主义现代化国家的重要载体。党的十八大以来,在以习近平同志为核心的党中央坚强领导下,....
中国青年网北京7月18日电(记者 安俐 实习生 王艺涵 胡然)近日亿操盘,66岁的甘肃会宁退休教师裴久诚来到中国人民大学,向家书博物馆捐赠叔父裴超写于抗战时期的....
7月16日,第三届中国国际供应链促进博览会(链博会)在北京开幕。本届链博会以“链接世界 共创未来”为主题,共设置先进制造链、智能汽车链、绿色农业链、清洁能源链、....
郑州配资网文章加载中,请稍后...
(原标题:商务部公告!中方对6家美国公司采取措施) 据商务部网站消息,商务部于9月25日发布公告,将3家美国实体列入出口管制管控名单、3家美国企业列入不可靠实体....
(原标题:储能设备股异动,“宁王”股价冲上400元创纪录!) 9月25日,A股市场震荡上行,创业板指探底回升一度涨逾2%,续创3年多新高。板块方面,储能设备板块....
(原标题:富春染织:芜湖富春高新主要聚焦PEEK材料的下游应用,已提交项目备案工作) 本文来源:时代财经 9月25日,富春染织副总经理、董事会秘书、财务总监王金....
(原标题:经济第一城,加码二手产业) 本文来源:时代周报 作者:曾思怡 二手车出口在最近几年成为新的蓝海,从2019年到2024年,出口量增长超过140倍。 但....
随着全球科技竞争向高端制造领域深度延伸,机器人产业已成为中美博弈的核心赛道之一。记者梳理发现,在人形机器人、无人机等关键领域,中美两国呈现出截然不同的发展路径,....
11月14日,国家统计局公布数据显示,10月份,70个大中城市中,各线城市商品住宅销售价格环比和同比均下降。 二手房:一二线城市环比降幅较上月收窄、同比跌幅扩大....
要点 近期美股AI概念板块调整、美国在AI关键领域劣势扩大,叠加其中长期全球霸权体系动摇,共同勾勒出美国经济与金融市场的潜在变局。这一系列变化不仅冲击着市场对“....
腾讯控股发布的第三季度财报显示,公司增值服务业务2025年第三季度的收入为959亿元,同比增长16%。本土市场游戏收入为428亿元,同比增长15%,主要得益于近....
阿里通义千问Qwen3-TTS全面升级。Qwen3-TTS是支持多音色、多语种和多方言的旗舰语音合成模型,目前可通过Qwen API访问。主要改进包括:更加丰富....
印度SENSEX30指数收盘跌0.32%,报84391.27点。 举报 第一财经广告合作,请点击这里此内容为第一财经原创,著作权归第一财经所有。未经第一财经书面....
刘德华女儿刘向蕙在学校向同学宣称“我爸爸是刘德华”,但因刘德华长期对女儿隐私的严格保护,导致同学普遍不信,甚至引发群嘲。刘德华在采访中提及此事括普投资,以“好玩....
4月18日,大悦城(000031.SZ)发布2024年年度报告。 财报数据显示,2024年大悦城控股实现营业收入约357.91亿元,较2023年下降2.70%;....
水上漫步不再是昆虫的专利恒财网,一种新型制造技术让软体机器人也能在水上自由行动。 弗吉尼亚大学的工程师们开发出一种名为“HydroSpread”的创新制造技术,....
4月5日,香港周生生黄金价格34490港币/两七星配资 ,铂金价格11070港币/两,金条价格31140港币/两。(价格仅供参考,以门店实际为准)同日上海黄金交....
爱配资 同花顺(300033)数据中心显示,东方证券(600958)7月11日获融资买入3.03亿元,占当日买入金额的18.30%,当前融资余额19.41亿元,....
一场跨越三地的艾滋病防治经验交流在长春掀起“头脑风暴”。8月20日,北京性病艾滋病防治协会会长黄春君盈配资,北京市疾病预防控制中心党委办公室主任吴强,北京市疾病....
嗨,我是瑞秋。 昨天刚给我们家老三过完生日,转眼间,他竟然5岁了,时间过得真快。 记得刚怀上他的时候,我和队友就开启了独立带娃的生活。 那段日子简直不堪回想,肚....
(原标题:华泰证券股份有限公司第六届董事会第十八次会议决议公告)浙商证券证交所 证券代码:601688 证券简称:华泰证券 公告编号:临 2025-027 华泰....
4月5日,六福珠宝黄金价格952元/克,铂金价格395元/克,金条价格962元/克。(价格仅供参考智慧优配,以门店实际为准)同日上海黄金交易所现货黄金AU999....
本文将深入探讨AI提示词的重要性及其核心构成要素股配咖吧,帮助你掌握与AI高效沟通的技巧,让你的AI不再答非所问,而是成为你得力的助手。 今天和你分享AI提示词....